К 4
Характеристики изделия:
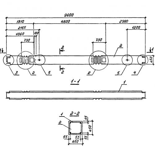
| Параметр | Значение |
|---|---|
| длина | 9600 мм |
| ширина | 450 мм |
| высота | 450 мм |
| масса | 4800 кг |
| нормативный документ | ГОСТ 27108-86 |
Цена:
Рассчитать стоимостьК 4 Колонны ГОСТ 27108-86.
| Параметр | Значение |
|---|---|
| длина | 9600 мм |
| ширина | 450 мм |
| высота | 450 мм |
| масса | 4800 кг |
| нормативный документ | ГОСТ 27108-86 |
К 4 Колонны ГОСТ 27108-86.
