ВТ 12

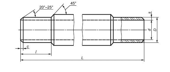
Чертеж изделия:
Характеристики изделия:
ПараметрЗначение
длина3950 мм
ширина324 мм
высота324 мм
масса228,7 кг
нормативный документГОСТ 31416-2009

ВТ 12   Асбоцементные напорные трубы ГОСТ 31416-2009.