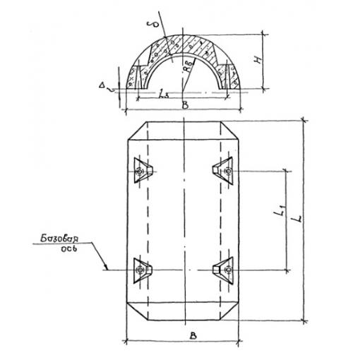
2УТК 820 утяжелители кольцевые
Характеристики изделия:
| Параметр | Значение |
|---|---|
| длина | 2400 мм |
| ширина | 1280 мм |
| высота | 610 мм |
| масса | 1587 кг |
| нормативный документ | Проект №998 |
Цена:
Рассчитать стоимость2УТК 820 Утяжелители железобетонные кольцевые сборные для магистральных трубопроводов Проект №998.
