2Р 4

Чертеж изделия:
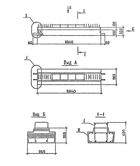
Характеристики изделия:
ПараметрЗначение
длина2560 мм
ширина565 мм
высота430 мм
масса850 кг
нормативный документСерия 1.020.1-2с/89

2Р4  Ригели для двустороннего опирания плит  Серия 1.020.1-2с/89.