2КНД 60.72
Характеристики изделия:
| Параметр | Значение |
|---|---|
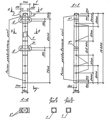
| длина | 14450 мм |
| ширина | 400 мм |
| высота | 700 мм |
| масса | 5880 кг |
| нормативный документ | Серия 1.020.1-4 |
Цена:
Рассчитать стоимость2КНД 60.72 Колонны двухконсольные для нижних этажей (Серия 1.020.1-4).
Маркировка с учетом диаметра угловых и промежуточных стержней арматуры, в мм. и марки бетона:
2КНД 60.72-3.20.00
2КНД 60.72-3.22.00
2КНД 60.72-3.25.00
2КНД 60.72-3.32.00
2КНД 60.72-4.32.00
2КНД 60.72-3.36.00
2КНД 60.72-4.36.00
2КНД 60.72-5.36.00
2КНД 60.72-3.40.00
2КНД 60.72-4.40.00
2КНД 60.72-5.40.00
2КНД 60.72-5.32.28
2КНД 60.72-6.32.28
2КНД 60.72-5.36.32
2КНД 60.72-6.36.32
2КНД 60.72-6.36.36
2КНД 60.72-5.40.22
2КНД 60.72-6.40.22
2КНД 60.72-6.40.36
2КНД 60.72-6.40.40