2КВД 36.36-3.20.00

Чертеж изделия:
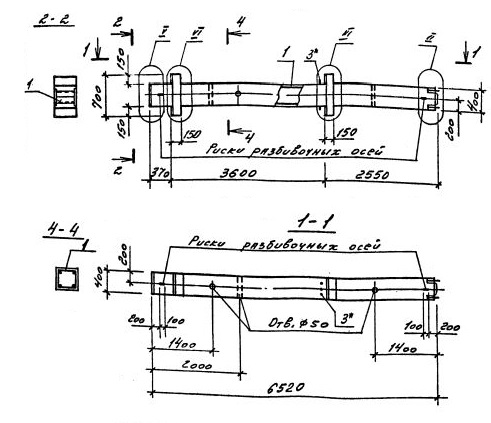
Характеристики изделия:
ПараметрЗначение
длина6520 мм
ширина400 мм
высота700 мм
масса2700 кг
нормативный документСерия 1.020.1-4

2КВД 36.36-3.20.00    Колонны двухконсольные для верхних этажей (Серия 1.020.1-4).