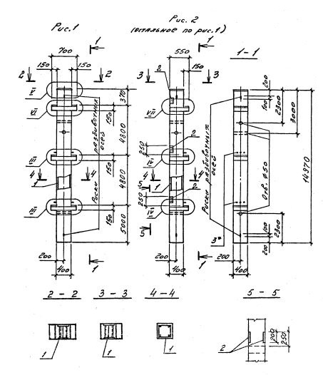
3КБД 48.48
Характеристики изделия:
| Параметр | Значение |
|---|---|
| длина | 14970 мм |
| ширина | 400 мм |
| высота | 700 мм |
| масса | 6120 кг |
| нормативный документ | Серия 1.020.1-4 |
Цена:
Рассчитать стоимость3КБД 48.48 Колонны бесстыковые двухконсольные (Серия 1.020.1-4).
Маркировка включает высоту этажей (дм), диаметры угловых и промежуточных стержней арматуры (мм), марку бетона:
3КБД 48.48-3.20.00
3КБД 48.48-3.22.00
3КБД 48.48-3.28.00
3КБД 48.48-3.36.00
3КБД 48.48-4.40.00
3КБД 48.48-5.40.00