1ВД 15-20

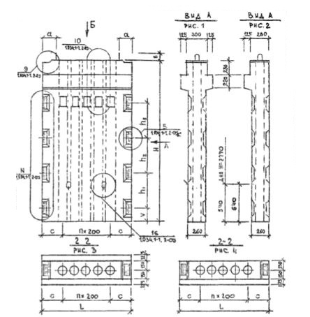
Чертеж изделия:
Характеристики изделия:
ПараметрЗначение
длина1480 мм
ширина405 мм
высота1970 мм
масса1428 кг
нормативный документСерия 1.034.1-1

1ВД 15-20  Вентиляционные блоки-диафрагмы жесткости с одной консолью (Серия 1.034.1-1).