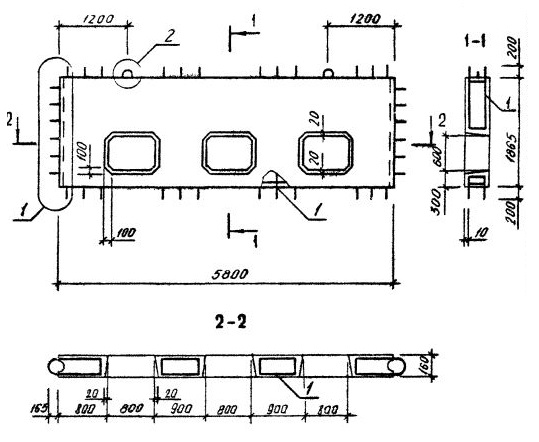
2ПВЦ 58.19-3Т-ПВ
Характеристики изделия:
| Параметр | Значение |
|---|---|
| длина | 5800 мм |
| ширина | 160 мм |
| высота | 1865 мм |
| масса | 3680 кг |
| нормативный документ | Серия 1.090.1-3пв |
Цена:
Рассчитать стоимостьПанели внутренних стен нулевого цикла для сборного варианта (Серия 1.090.1-3пв).
2ПВЦ 58.19-3Т-ПВ Панели внутренние нулевого цикла.
Марка содержит обозначение основных характеристик панели и состоит из буквенно-цифровых групп.
Группа букв означает название стеновой панели.
Группа цифр (записаны через точку) обозначает габариты панели (длина, высота) в дециметрах.
Вторая группа цифр обозначает прочностную характеристику.
3Т - вид бетона - бетон тяжелый М250.
ПВ - изделие предназначено для строительства зданий на просадочных грунтах и на подрабатываемых территориях.