НЦ 30.10.45

Чертеж изделия:
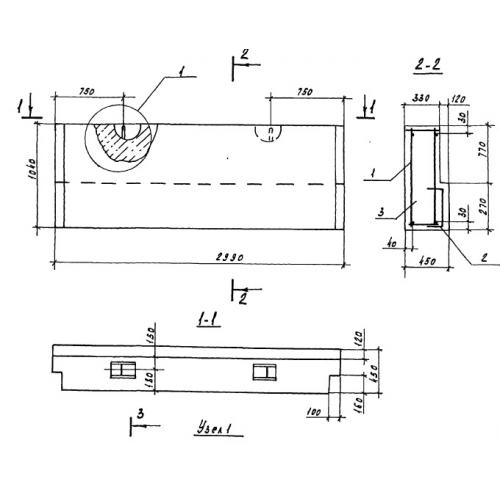
Характеристики изделия:
ПараметрЗначение
длина2990 мм
ширина450 мм
высота1040 мм
вес1860 кг
серия1.100.1-7

НЦ 30.10.45 Наружная цокольная стеновая панель по серии 1.100.1-7.