НЦ 30.10.50

Чертеж изделия:
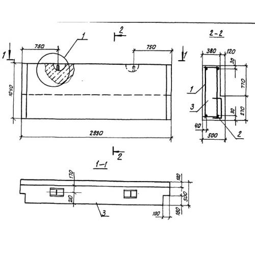
Характеристики изделия:
ПараметрЗначение
длина2990 мм
ширина500 мм
высота1040 мм
вес2130 кг
серия1.100.1-7

НЦ 30.10.50 Наружная цокольная стеновая панель по серии 1.100.1-7.