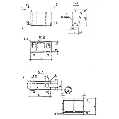
ВБТ 14.6.4 блоки вентиляционные
Характеристики изделия:
| Параметр | Значение |
|---|---|
| длина | 1370 мм |
| ширина | 400 мм |
| высота | 600 мм |
| масса | 170 кг |
| нормативный документ | Серия 1.134.1-12 |
Цена:
Рассчитать стоимостьВБТ 14.6.4 Блоки вентиляционные теплого этажа Серия 1.134.1-12.