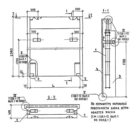
СБ 5.1-11.24.4-п-1.1
Характеристики изделия:
| Параметр | Значение |
|---|---|
| длина | 1115 мм |
| ширина | 400 мм |
| высота | 2380 мм |
| масса | 1640 кг |
| нормативный документ | Серия 1.138.1-12 |
Цена:
Рассчитать стоимостьСерия 1.138.1-12
СБ – стеновые блоки наружных стен, тип блока 5 – парапетный блок.