ПК 48.18 Плиты перекрытия железобетонные многопустотные

Чертеж изделия:
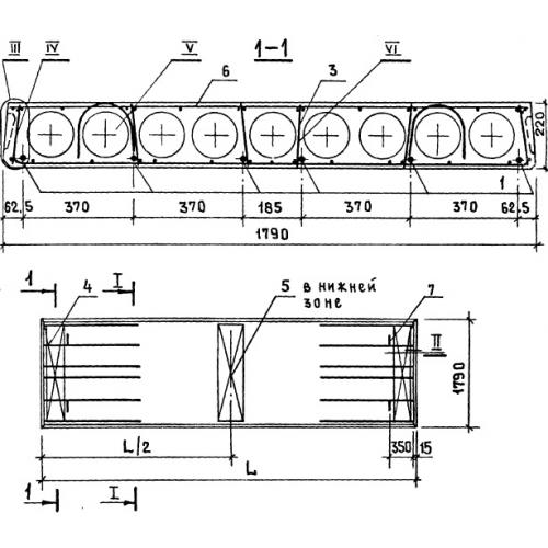
Характеристики изделия:
ПараметрЗначение
длина4780 мм
ширина1790 мм
высота220 мм
масса2550 кг
нормативный документСерия 1.141-1

ПК 48.18  Плиты перекрытия железобетонные многопустотные Серия 1.141-1.