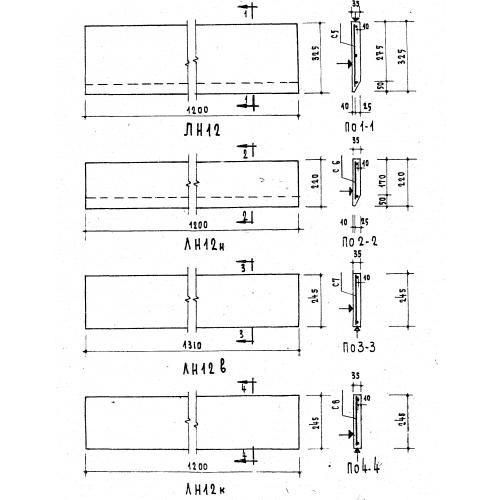
ЛН 12 в

Чертеж изделия:
Характеристики изделия:
ПараметрЗначение
длина1310 мм
ширина245 мм
высота35 мм
вес28 кг
серия1.151-1

ЛН 12 в  Накладные лестничные проступи верхние по серии 1.151-1.