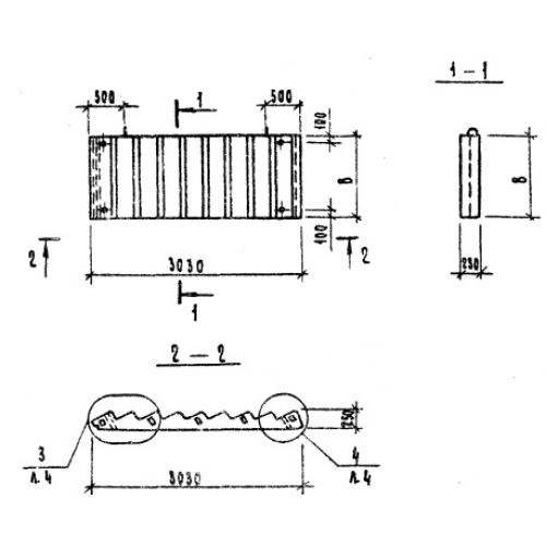
ЛМ 30.12.15 лестничные марши
Характеристики изделия:
| Параметр | Значение |
|---|---|
| длина | 3030 мм |
| ширина | 1200 мм |
| высота | 1500 мм |
| масса | 1700 кг |
| нормативный документ | Серия 1.151.1-7 |
Цена:
Рассчитать стоимостьЛМ 30.12.15 Лестничные марши без фризовых ступеней Серия 1.151.1-7.
