ПСС 30.16.3,5-п
| Параметр | Значение |
|---|---|
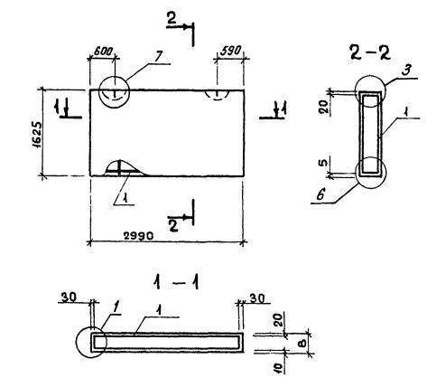
| Длина | 2990 мм |
| Ширина | 350 мм |
| Высота | 1625 мм |
| Масса | 2040 кг |
| Нормативный документ | Серия 1.232.1-8 |
Стандарт изготовления изделия: Серия 1.232.1-8
Панель однослойная самонесущая ПСС 30.16.3,5-п (1.232.1-8) представляет собой прочную прямоугольную конструкцию, выполненную из легкобетонной смеси и стального внутреннего каркаса. Наружная поверхность строительного элемента обладает эстетичным декоративным слоем. Вертикальные грани наружного слоя запроектированы из условия устройства стыков, заделываемых герметиками. На нижней горизонтальной грани предусмотрена декомпрессионная полость. Конструкционными особенностями, как данной панели, так и всех аналогичных изделий, изготавливаемых по регламенту Серия 1.232.1-8, является наличие проемов для окон и дверей.
Маркировка
1. ПСС - панель стеновая самонесущая без проема (глухая);
2. 30 - длина в дециметрах;
3. 16 - высота в дециметрах;
4. 3,5 - толщина в дециметрах;
5. п - используется бетонная смесь на пористых заполнителях.