К 54

Чертеж изделия:
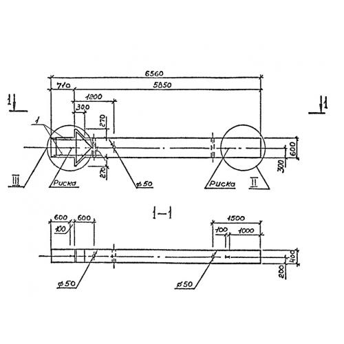
Характеристики изделия:
ПараметрЗначение
длина6560 мм
ширина400 мм
высота1140 мм
вес4000 кг
серия1.421.1-1.93

К 54 Колонны по серии 1.421.1-1.93.