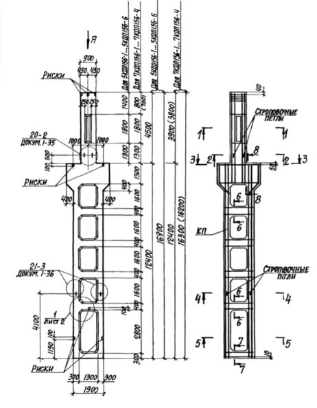
КДП 156 колонны средние
Характеристики изделия:
| Параметр | Значение |
|---|---|
| длина | 16900 мм |
| ширина | 500 мм |
| высота | 1900 мм |
| масса | 20800 кг |
| нормативный документ | Серия 1.424.1-10 |
Цена:
Рассчитать стоимостьКДП 156 Двухветвевые колонны с проходом (средние) Серия 1.424.1-10.
