Лу 32

Чертеж изделия:
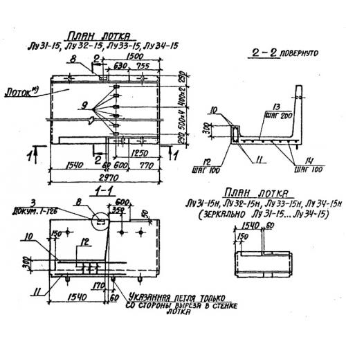
Характеристики изделия:
ПараметрЗначение
длина2970 мм
ширина3380 мм
высота1080 мм
масса5880 кг
нормативный документСерия 3.006.1-2/82

Лу 32  Лотки теплотрасс угловые Серия 3.006.1-2/82.