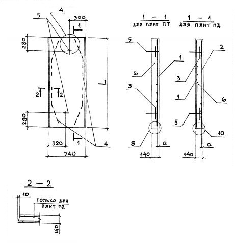
ПД 75.210.14 плиты днища

Чертеж изделия:
Характеристики изделия:
ПараметрЗначение
длина740 мм
ширина2080 мм
высота140 мм
масса550 кг
нормативный документСерия 3.006.1-8

ПД 75.210.14  Плиты днища каналов Серия 3.006.1-8.