СК 11-40
Характеристики изделия:
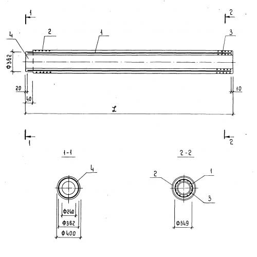
| Параметр | Значение |
|---|---|
| длина | 11000 мм |
| ширина | 400 мм |
| высота | 400 мм |
| вес | 2210 кг |
| серия | 3.015-5/86 |
Цена:
Рассчитать стоимостьСК 11-40 Сваи полые круглые по серии 3.015-5/86.
| Параметр | Значение |
|---|---|
| длина | 11000 мм |
| ширина | 400 мм |
| высота | 400 мм |
| вес | 2210 кг |
| серия | 3.015-5/86 |
СК 11-40 Сваи полые круглые по серии 3.015-5/86.
