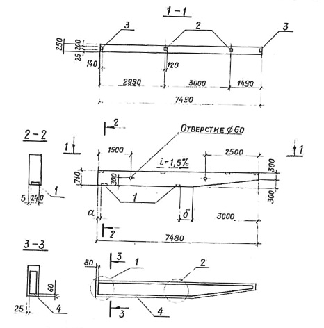
1БН7,5-2

Чертеж изделия:
Характеристики изделия:
ПараметрЗначение
Длина7480 мм
Ширина250 мм
Высота710 мм
Масса3000 кг
Нормативный документСерия 3.019.1-1

1БН7,5-2   Балка навеса по Серии 3.019.1-1.