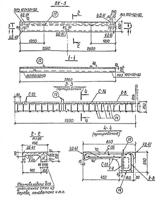
ПК-5 карнизная панель
Характеристики изделия:
| Параметр | Значение |
|---|---|
| длина | 5980 мм |
| ширина | 650 мм |
| высота | 250 мм |
| масса | 1200 кг |
| нормативный документ | Серия 3.407-102 |
Цена:
Рассчитать стоимостьПК-5 Карнизные панели Серия 3.407-102.
| Параметр | Значение |
|---|---|
| длина | 5980 мм |
| ширина | 650 мм |
| высота | 250 мм |
| масса | 1200 кг |
| нормативный документ | Серия 3.407-102 |
ПК-5 Карнизные панели Серия 3.407-102.