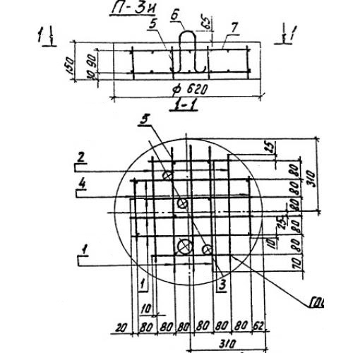
П-3и

Чертеж изделия:
Характеристики изделия:
ПараметрЗначение
длина620 мм
ширина620 мм
высота150 мм
масса110 кг
нормативный документСерия 3.407.1-136

П-3и  Опорно-анкерные плиты Серия 3.407.1-136.