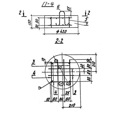
П 4

Чертеж изделия:
Характеристики изделия:
ПараметрЗначение
длина420 мм
ширина420 мм
высота150 мм
масса50 кг
нормативный документСерия 3.407.1-143

П 4  Опорно-анкерные плиты Серия 3.407.1-143.