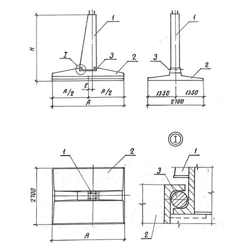
ФП 2.7-4.2 Фундамент составной
Характеристики изделия:
| Параметр | Значение |
|---|---|
| длина | 4200 мм |
| ширина | 2700 мм |
| высота | 5200 мм |
| масса | 8800 кг |
| нормативный документ | Серия 3.407.1-144 |
Цена:
Рассчитать стоимостьФП 2.7-4.2 Фундаменты под анкерно-угловые опоры повышенные по Серии 3.407.1-144.
