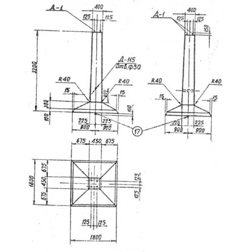
Ф 18.18 Фундаменты грибовидные
Характеристики изделия:
| Параметр | Значение |
|---|---|
| длина | 1800 мм |
| ширина | 1800 мм |
| высота | 3200 мм |
| масса | 3000 кг |
| нормативный документ | Серия 3.407.1-157 |
Цена:
Рассчитать стоимостьФ 18.18 Фундаменты под анкерно-угловые опоры по Серии 3.407.1-157.
