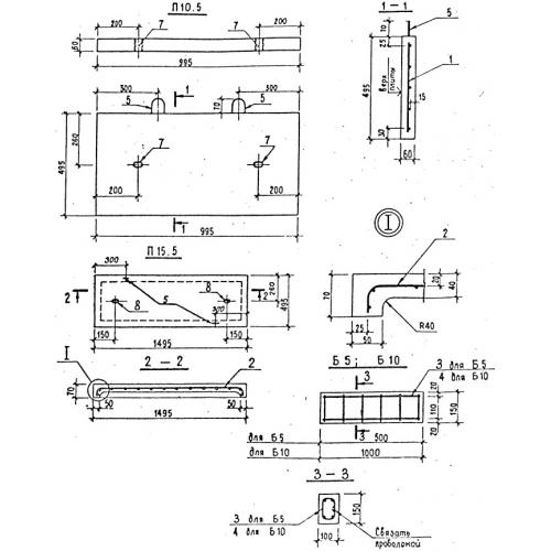
П 10.5 Плиты перекрытия лотков кабельных каналов
Характеристики изделия:
| Параметр | Значение |
|---|---|
| длина | 995 мм |
| ширина | 495 мм |
| высота | 60 мм |
| масса | 70 кг |
| нормативный документ | Серия 3.407.1-157 |
Цена:
Рассчитать стоимостьП 10.5 Плиты перекрытия лотков кабельных каналов по Серии 3.407.1-157.
