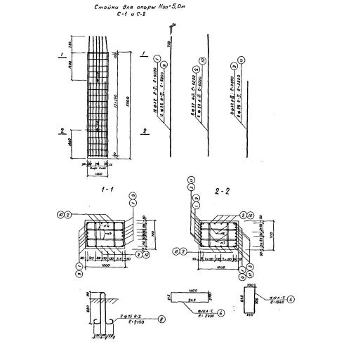
С

Чертеж изделия:
Характеристики изделия:
ПараметрЗначение
длина5300 мм
ширина1000 мм
высота700 мм
вес9300 кг
серия3.501-61

С Стойки  по серии 3.501-61.