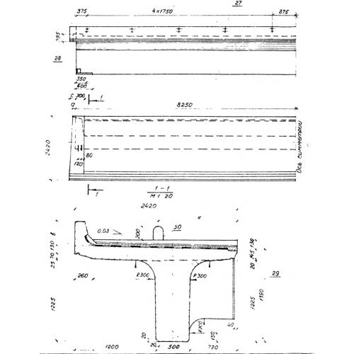
Б 165
Характеристики изделия:
| Параметр | Значение |
|---|---|
| длина | 16500 мм |
| ширина | 2420 мм |
| высота | 2000 мм |
| вес | 54200 кг |
| Серия | 3.501.1-146 |
Цена:
Рассчитать стоимостьБ 165 Балки ребристые пролетных строений по Серии 3.501.1-146.
| Параметр | Значение |
|---|---|
| длина | 16500 мм |
| ширина | 2420 мм |
| высота | 2000 мм |
| вес | 54200 кг |
| Серия | 3.501.1-146 |
Б 165 Балки ребристые пролетных строений по Серии 3.501.1-146.
