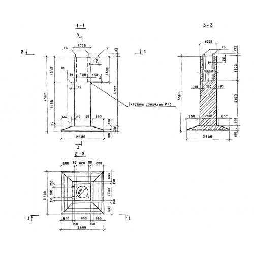
ФГ

Чертеж изделия:
Характеристики изделия:
ПараметрЗначение
длина2600 мм
ширина2600 мм
высота4500 мм
вес12730 кг
серия3.501.1-155

ФГ Фундаменты грибовидные по серии 3.501.1-155.