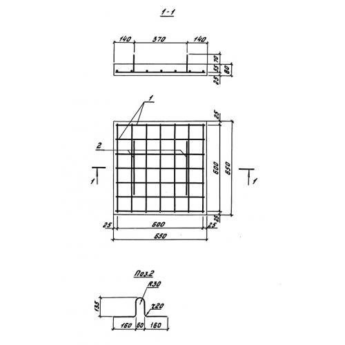
ОП 2 опорная плита
Характеристики изделия:
| Параметр | Значение |
|---|---|
| длина | 650 мм |
| ширина | 650 мм |
| высота | 80 мм |
| вес | 85 кг |
| серия | 3.501.1-16 |
Цена:
Рассчитать стоимостьОП 2 Опорные плиты по серии 3.501.1-160.
| Параметр | Значение |
|---|---|
| длина | 650 мм |
| ширина | 650 мм |
| высота | 80 мм |
| вес | 85 кг |
| серия | 3.501.1-16 |
ОП 2 Опорные плиты по серии 3.501.1-160.
