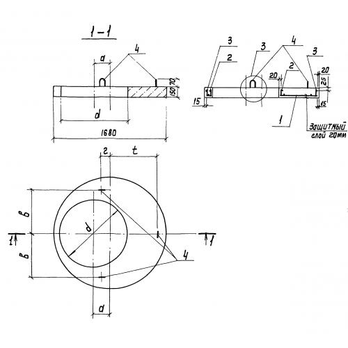
КЦП 15 плита колодца

Чертеж изделия:
Характеристики изделия:
ПараметрЗначение
длина1680 мм
ширина1680 мм
высота150 мм
масса680 кг
нормативный документСерия 3.900.1-14

КЦП 15 Плиты перекрытия колодцев по Серии 3.900.1-14.