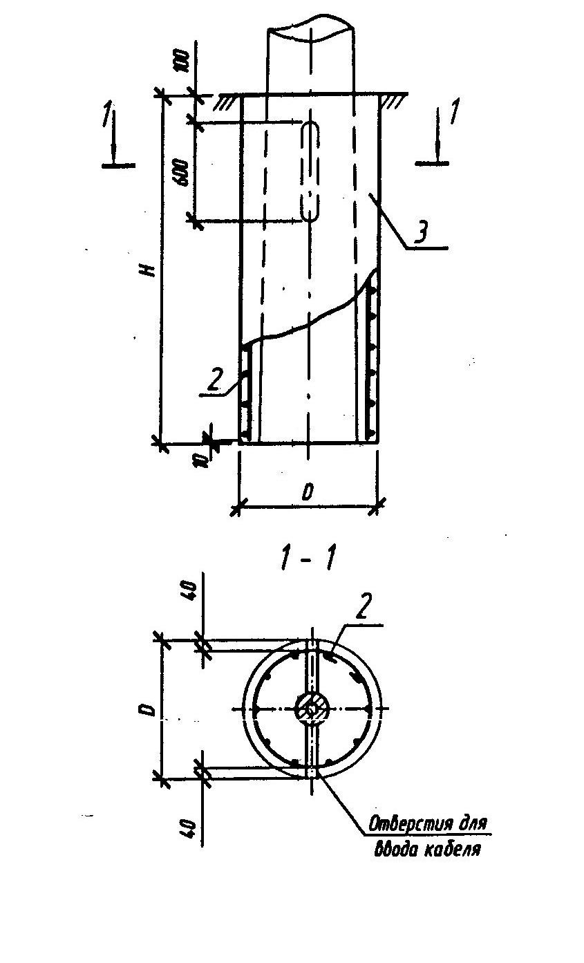
Ф 6

Чертеж изделия:
Характеристики изделия:
ПараметрЗначение
Высота Н2000 мм
Диаметр D1200 мм
Вес5025 кг
СерияБ3.507.1-3.04
Норма погрузки на машину (20тн)4 шт
Вагонная норма погрузки-

Фундамент Ф 6 изготавливается из тяжелого бетона и предназначен для установки стоек СКЦ согласно нормам серии Б3.507.1-3.04.