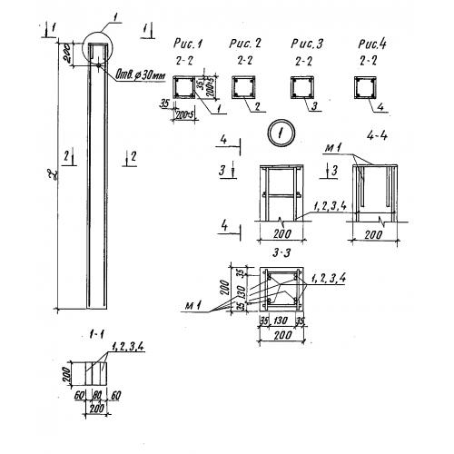
С 25.2 Стойка

Чертеж изделия:
Характеристики изделия:
ПараметрЗначение
длина2500 мм
ширина200 мм
высота200 мм
масса250 кг
нормативный документТП 501-07-3.83

С 25.2  Стойки по Типовому проекту ТП 501-07-3.83.