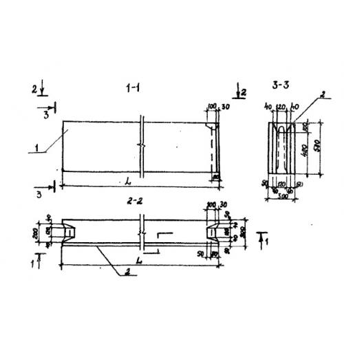
ФБС 9.3.6

Чертеж изделия:
Характеристики изделия:
ПараметрЗначение
длина880 мм
ширина300 мм
высота580 мм
вес305 кг
серияТП 501-07-5.84

ФБС 9.3.6  Фундаментные блоки стеновые по проекту ТП 501-07-5.84.